Ilsa - Kawiarka 6 tz CARMENCITA POP niebieska 350 ml
Kultowy zaparzacz do kawy Carmencita Pop został zaprojektowany dla marki Lavazza w 1979 roku przez Marco Zanuso, który inspirował się postacią Carosello (kukiełka z włoskiego programu dla dzieci).
Kawiarka powróciła we współczesnej odsłonie dzięki włoskiej firmie ILSA.
Niepowtarzalny stożkowy kształt oraz kolorowa rękojeść sprawiają, że kawiarka Carmencita doskonale trafia we współczesne trendy. Prosty, a jednocześnie urzekający włoski design powodują, że kawiarka jest doskonałym i stylowym dodatkiem do kuchni. Kawiarka ma oryginalne pudełko, które zostało stworzone specjalnie dla Lavazzy przez Gianlucę Biscalchina.
Carmencita Pop to idealny prezent dla każdego miłośnika kawy.
Korpus zaparzacza wykonany jest z grubego odlewu aluminiowego z satynowym wykończeniem.
Zaparzacz można używać na każdym rodzaju kuchenki, również na indukcji.
Kawiarkę należy myć ręcznie w ciepłej wodzie z dodatkiem detergentu do mycia naczyń. Nie należy myć jej w zmywarce.
Jak to działa?
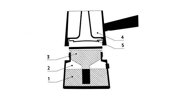
Do dolnego pojemnika nalewamy czystą wodę, zwracając uwagę by poziom wody był poniżej zaworu bezpieczeństwa, do sitka wsypujemy zmieloną kawę (kawa musi mieć średni stopień zmielenia, najlepiej wybierać taką kawę, która ma oznaczenie, że może być w ten sposób zaparzana). Kawy nie ubijamy! Kolejny krok to złożenie kawiarki, nakręcamy górny korpus, pamiętając o tym aby brzegi korpusów i uszczelka były suche i czyste. Teraz możemy naszą kawiarkę ustawić na kuchence. Korzystając z kuchni indukcyjnej nie ustawiamy mocy na więcej niż 60 %, na kuchni gazowej dostosujmy wielkość płomienia do dna dolnego naczynia. Gotowe? Jeśli słyszysz dźwięk wydobywającej się z dyszy kawy i syczenie, to jeszcze chwilka...tylko syczy. Kawa gotowa! To niewielkie urządzenie sprawia, że zwykła czarna kawa nabierze innej oprawy, a przede wszystkim innego smaku i aromatu.
Wymiary:
pojemność: około 350 ml
średnica podstawy: 10,5 cm
wysokość: 20,5 cm














